Introducerea Produsului
Furnizăm stocuri de împământare și ecranare BeCu cu sloturi duble, acesta este unul dintre produsele noastre standard de vânzare la cald, este ideal pentru aplicații care necesită ecranare eficientă EMI/RFI, împământare și etanșare ecologică.
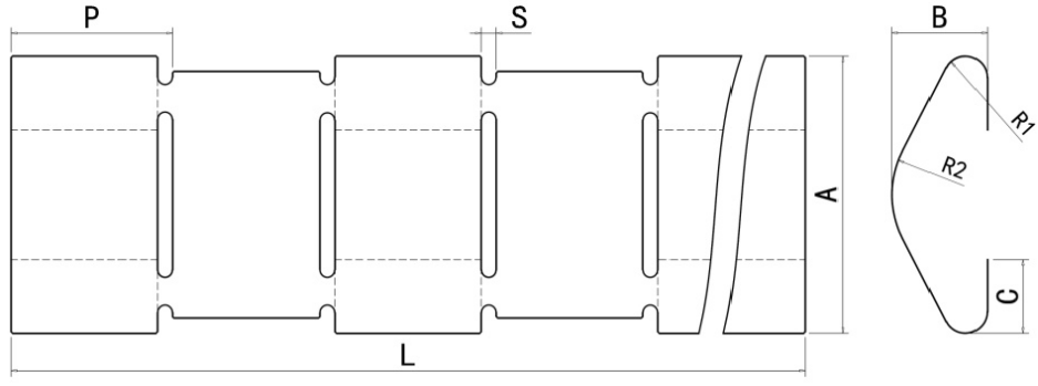
Parametrul produsului

|
Numărul piesei |
T(mm) |
A |
B |
C |
R1 |
R2 |
P |
S |
Lmax |
Noduri |
Culoarea suprafeței |
|
MB-1756-01 |
0.089 |
8.13 |
2.79 |
2.16 |
0.51 |
2.79 |
4.75 |
0.5 |
413 mm |
87 |
Finisaj strălucitor |
|
MB-1756-0S/N |
0.089 |
8.13 |
2.79 |
2.16 |
0.51 |
2.79 |
4.75 |
0.5 |
413 mm |
87 |
-0S:Tin / -0N:Nichel |
|
MB-2756-01 |
0.05 |
8.13 |
2.79 |
2.16 |
0.51 |
2.79 |
4.75 |
0.5 |
612,3 mm |
129 |
Finisaj strălucitor |
|
MB-2756-0S/N |
0.05 |
8.13 |
2.79 |
2.16 |
0.51 |
2.79 |
4.75 |
0.5 |
612,3 mm |
129 |
-0S:Tin / -0N:Nichel |
|
Re: Lungimea poate fi tăiată în X noduri, X=1.2.3.4..., Suprafața poate fi, de asemenea, pl ted cu Aur. Argint și zinc etc; |
|||||||||||

Caracteristica și aplicația produsului
Stocul nostru de deget BeCu cu slot dublu este special conceput pentru a oferi o împământare electrică excelentă, ecranare EMI/RFI și capacități de etanșare a mediului. Fabricat din material de cupru beriliu de calitate premium, acest material pentru degete oferă performanțe și durabilitate superioare.
Caracteristici cheie:
Design cu fantă dublă: suportul pentru degete are două fante sau canale, sporindu-și flexibilitatea și adaptabilitatea la suprafețele de împerechere neregulate. Acest design permite o compresie optimă, menținând un contact constant și asigurând o conductivitate electrică fiabilă și eficacitate de ecranare.
Împământare și ecranare electrică îmbunătățite: Cu configurația sa dublă cu slot, stocul nostru oferă o zonă de contact mai mare, rezultând o împământare electrică îmbunătățită și o ecranare eficientă EMI/RFI. Ajută la minimizarea interferențelor electromagnetice și oferă o cale conductivă fiabilă.
Flexibil și conformabil: Designul cu fantă dublă îmbunătățește flexibilitatea suportului pentru degete, permițându-i să se conformeze diferitelor suprafețe de împerechere și să se adapteze neregularităților. Acest lucru asigură un contact adecvat și ajută la menținerea performanței chiar și în scenariile de instalare dificile.
Construcție de înaltă calitate: Arcul nostru cu două caneluri este fabricat folosind tehnici de precizie și este supus unor măsuri stricte de control al calității. Acest lucru asigură performanța constantă a produsului, durabilitatea și fiabilitatea pe durata de viață a acestuia.
Opțiuni personalizabile: înțelegem că diferite aplicații au cerințe specifice. Arcul nostru cu canelură dublă poate fi personalizat în ceea ce privește dimensiunile, configurațiile sloturilor și configurațiile de contact pentru a asigura o potrivire și performanță optime pentru nevoile dvs. unice ale aplicației.
Gamă largă de aplicații: suportul digital BeCu cu slot dublu găsește aplicații în diverse industrii, inclusiv electronice, telecomunicații, aerospațial și multe altele. Este folosit în mod obișnuit în conectori, carcase ecranate, dulapuri și alte dispozitive în care împământarea eficientă, ecranarea și etanșarea mediului sunt esențiale.
La compania noastră, acordăm prioritate calității și performanței. Stocul nostru pentru degete BeCu cu fantă dublă este proiectat să îndeplinească cele mai înalte standarde și să ofere o fiabilitate excepțională în medii solicitante.
Detalii de producție


În lumea în ritm rapid a electronicii și tehnologiei, nevoia de ecranare, împământare și etanșare a mediului înconjurător este primordială. Pe măsură ce dispozitivele devin mai sofisticate și mai compacte, riscul interferențelor și a pericolelor pentru mediu crește. Pentru a combate aceste provocări, industria se bazează pe soluții inovatoare, cum ar fi stocul de degete BeCu cu două sloturi. Acest articol explorează caracteristicile, beneficiile și aplicațiile acestui produs standard, foarte bine vândut, care a devenit o alegere de încredere pentru numeroase industrii.
Dezvăluirea stocului de degete BeCu cu dublu slot
Finger Stock-ul BeCu cu dublu slot este o componentă versatilă și fiabilă, care oferă o soluție holistică la multiple provocări cu care se confruntă în domeniul electronicii. Este conceput special pentru a oferi ecranare EMI/RFI, împământare și etanșare eficientă a mediului. Fabricat din aliaj de cupru beriliu (BeCu), acest material pentru degete oferă o combinație excelentă de conductivitate electrică, rezistență mecanică și rezistență la coroziune.
Compania noastră are un set complet de echipamente de testare a produselor pentru a ne asigura că putem oferi produse de înaltă calitate și fiabile. Când produsele sunt expediate, putem furniza o serie completă de rapoarte de testare
Calificarea produsului
Fluxul procesului de fabricație al materialului digital BeCu

Capacitatea de proiectare și fabricare a sculelor
Avantajele companiei
Doi designeri profesioniști de scule ambii au mai mult de 10 ani de experiență în proiectare. Depășim dificultățile tehnice din domeniul ștanțarii cu echipamente de prelucrare a sculelor importate și capacitate puternică de fabricare a sculelor. Mai mult de 15 seturi de matrițe pot fi finalizate în fiecare lună.
Livrare rapidă: 7 zile pentru mostre manuale și 16 zile pentru matrițe de producție în masă.
Durata extraordinară a sculelor: compania noastră adoptă materiale speciale de matriță de peste 100 de milioane de ori.
Compania noastră folosește în principal materii prime de la BrushWellman Co.,Ltd din SUA.
Echipamente majore:
Polizor de precizie:4 seturi;
Freza: 3 seturi;
Mașină de găurit: 3 seturi;
Tăiere cu fir-electrod: 2 seturi;
Morii:1 set;
În rest: 5 seturi

Raport de control al calității
Cerințe de mediu pentru produse
Produsele noastre BeCu îndeplinesc cerințele raportului SGS, raportului ROHS, REACH, raportului fără halogen (HF), etc.

Livrare, livrare și servire

FAQ
Întrebări și chei de achiziționare a piesei și a garniturii:
Î1: Care sunt beneficiile utilizării stocului de degete BeCu cu slot dublu?
A1: Designul cu fantă dublă oferă o flexibilitate sporită, permițând stocului degetelor să se conformeze suprafețelor de împerechere neregulate și să mențină un contact constant. De asemenea, oferă o conductivitate electrică îmbunătățită și o eficiență de ecranare datorită suprafeței de contact mai mari.
Î2: Ce aplicații sunt potrivite pentru stocul de degete BeCu cu slot dublu?
A2: Slot dublu BeCu este utilizat în mod obișnuit în carcase electronice, conectori și dulapuri ecranate. Este ideal pentru aplicațiile care necesită ecranare EMI/RFI eficientă, împământare și etanșare ecologică.
Î3: Poate fi personalizat stocul de degete BeCu cu slot dublu pentru cerințe specifice?
A3: Da, arcul cu canelura dubla poate fi personalizat pentru a satisface nevoile specifice ale aplicatiei. Dimensiunile, configurațiile sloturilor și configurațiile de contact pot fi adaptate pentru a asigura potrivirea și performanța corespunzătoare.
Î4: Cum influențează designul cu slot dublu performanța stocului de degete?
A4: Designul cu fantă dublă mărește flexibilitatea și compresibilitatea suportului degetelor, permițându-i să găzduiască diferite suprafețe de îmbinare și să mențină o conexiune electrică fiabilă. De asemenea, îmbunătățește capacitatea de a se conforma suprafețelor neregulate, asigurând contact constant și eficacitate de ecranare.
Î5: Există standarde din industrie sau certificări asociate cu stocul de degete BeCu cu slot dublu?
A5: Materialele de cupru beriliu utilizate în stocul de degete pot adera la standardele industriale, cum ar fi ASTM B194. În plus, producătorii de stocuri digitale pot urma sisteme de management al calității precum ISO 9001 pentru a asigura o calitate constantă a produsului.
Tag-uri populare: sloturi duble pentru stocul de degete, China sloturi duble pentru stocul de degete producatori, furnizori, fabrica, EMI protejând cu degetele, ESD Garnituri de stocare a degetelor de împământare, Garnitura de inserție BECU, Garnituri EMI montate, RF Fingerstock, RFI Fingerstock